Реле давления типа КР/КРI предназначены для регулирования, текущего контроля и аварийной сигнализации в промышленности. Устанавливаются в системах с жидкими и газообразными средами.
Реле давления снабжены однополюсными выключателями, которые замыкают или размыкают электрическую цепь при изменении давления в системе по сравнению с заданным.
Пояснение терминов
Технические характеристики
| Тип | KP | KPI | |||
| Температура окружающей среды °C | -40 °C … +65 °C (на короткий период до +80 °C) | ||||
| Температура среды °C | -40°C … +100°C | ||||
| Среда | газообразные среды и воздух | воздух, масло, пресная вода | |||
| Материалы контактирующие со средой | сильфон | жесть покрытая бронзой | жесть покрытая бронзой | ||
| коннектор | сталь | латунь | |||
| Контактная система | Однополюсной перекидной контакт![]() |
||||
| Допустимая электрическая нагрузка на контактную систему из AgCdO (сплав серебра) | Переменный ток | Переменный ток | |||
| AC-1 омич. нагрузка | 16А,400В | AC-1 омич. нагрузка | 16А,400В | ||
| AC–3 индукт. нагрузка | 16А,400В | AC–3 индукт. нагрузка | 6А,400В | ||
| AC–15 индукт. нагрузка |
10А,400В |
AC–15 индукт. нагрузка | 4А,400В | ||
| Постоянный ток | Постоянный ток | ||||
| DC – 13 нагрузка | 12Вт,220В | DC – 13 нагрузка | 12Вт,220В | ||
| Допустимая электрическая нагрузка на контактную систему с позолоченными контактами | Переменный ток | ![]() |
|||
| AC-1 омич. нагрузка | 10А,400В | ||||
| AC–3 индукт. нагрузка | 6А,400В | ||||
| AC–15 индукт. нагрузка | 4А,400В | ||||
| Постоянный ток | |||||
| DC – 13 нагрузка | 12Вт,220В | ||||
| По кривой А определяется максимально допустимая нагрузка. Заштрихованная зона В обозначает допустимую нагрузку для позолоченных контактов. |
|||||
| Подключение кабеля | Уплотняемый ввод для кабелей диаметром 6 - 14 мм | ||||
| Класс защиты корпуса | IP 33 при монтаже на плоскую поверхность и закрытых неиспользуемых отверстий | ||||
| IP 44 при соблюдении условий для IP 33 и наличии верхней крышки | |||||
| Виброустойчивость | При установке на стенном кронштейне допускается вибрация в диапазоне 0 -1000 Гц, 4 g (1 g = 9.81 m/s2) | ||||
| Монтаж на угловой скобке не рекомендуется в местах, где возможна вибрация | |||||
Коды для оформления заказа
| Код заказа | Тип | Присоединительные размеры, дюймы | Диапазон настройки, бар | Перепад давлений, бар | Рабочее давление, бар | Материал контакта |
| 060-113366 060-504766 |
КР35 | G ¼ A | -0.2 – 7.5 | 0.7 – 4 | 17 | Ag Au |
| 060-110866 060-113766 |
КР36 | G ¼ A | 2 – 14 | 0.7 – 4 | 17 | Ag Au |
| 060-122166 060-114466 |
КР36 | G ¼ A | 4 – 12 | 0.5 – 1.6 | 17 | Ag Au |
| 060-121766 060-316466 |
КРI35 | G ¼ A | -0.2 – 8 | 0.4 – 1.5 |
18 |
Ag Au |
| 060-121966 060-316566 |
КРI35 | G ¼ A | -0.2 – 8 | 0.5 – 2 | 18 | Ag Au |
| 060-118966 060-113866 |
КРI36 | G ¼ A | 4 – 12 | 0.5 – 1.6 | 18 | Ag Au |
| 060-316966 060-316666 |
КРI36 | G ¼ A | 2 – 12 | 0.5 – 1.6 | 18 | Ag Au |
| 060-508166 060-316766 |
КРI36 | G ¼ A | 8 - 28 | 1.8 - 6 | 30 | Ag Au |
| Наименование | Рисунок | Описание | Количество в коробке | Код заказа |
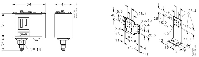
| Кронштейны монтажа | ![]() |
стенной кронштейн | 10 | 060-105566 |
| угловая скоба | 10 | 060-105666 | ||
| 4 шурупа М4*5 + 4 шайбы | 1 комплект | 060-105466 | ||
| Кабельный ввод с резьбой | ![]() |
Рg 13.5 с гайкой для кабелей диаметром 6-14 мм | 5 | 060-105966 |
| Пломба | |
Защита изменения настроек | 20 | 060-105766 |
| Верхняя крышка | |
В стандартной комплектации прибор имеет степень защиты IРЗЗ, при установке верхней крышки степень защиты увеличивается до IР44 |
10 | 060-420166 |
| Защитная крышка | |
Для защиты прибора от капель влаги и влажности. Степень защиты IP44 | 1 | 060-003166 |


1 .Настроечный шпиндель шкалы «range»
2. Настроечный шпиндель шкалы «diff»
3. Основной рычаг
4. Пружина шкалы «range»
5. Пружина шкалы «diff»
6. Сильфон
7. Присоединительный штуцер
8. Клеммная панель
9. Клемма
10. Заземление
11. Кабельный вход
12. Омегообразная пружина (KPI)
12. Тумблер (KP)
13. Стопорный винт (KPI)
13. Блокировочная пластина (KP)